商标“文字游戏”再曝光!水牛奶背后竟藏这些猫腻资讯
从“赵一鸣”商标布局,看企业品牌保护的战略智慧
品牌未动,商标先行——知识产权的布局决定了企业发展的天花板
近年来,零食量贩行业竞争日趋白热化,一条街道四五家店扎堆、近身肉搏的现象屡见不鲜。在这个激烈竞争的市场中,赵一鸣零食却凭借出色的商标战略实现了品牌突围。
从一家小炒货店起步,短短三年时间拓展至4000多家门店,其背后的商标布局智慧值得每一个企业学习借鉴。作为专业的知识产权服务机构,江西华谊知识产权代理有限公司带您深度解析赵一鸣的商标保护策略。
一、核心类别全覆盖:筑起品牌“防火墙”
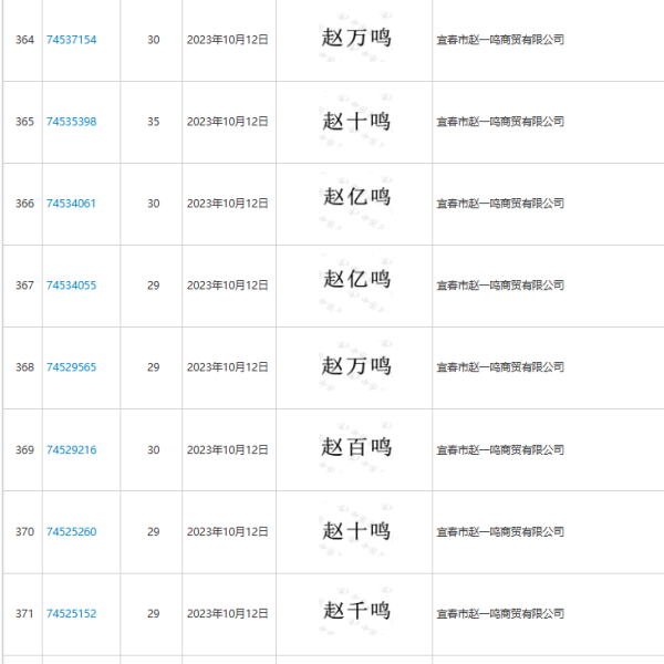
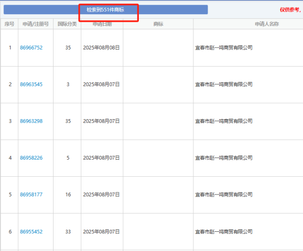
赵一鸣零食在商标布局上展现了极强的战略意识。据查询,宜春市赵一鸣商贸有限公司名下目前共计申请500多件商标,实现了核心类别的全面覆盖。

其中包括:
<
<
<
<
<
这种全面覆盖的注册策略,为企业筑起了一道坚实的品牌“防火墙”,有效防止了他人抢注相关类别商标的可能,为品牌扩张扫清了障碍。
二、多商标战略:分散风险与精准营销并行
赵一鸣零食采用的多品牌商标战略是值得企业借鉴的重要策略。企业可以根据不同的市场定位和消费群体来推出不同的系列产品,使用不同的商标同时进入市场。
多商标战略的三大优势:
<
<
<

同时,赵一鸣在品牌形象建设上也投入了大量资源。产品IP形象的视觉投资,让品牌一目了然,更易识别,增强了品牌的市场辨识度和消费者记忆度。
三、防御性布局:为企业发展预留空间
除了核心类别外,赵一鸣还注册了多个防御商标,这种前瞻性的布局为企业未来发展预留了充足的空间。

防御性商标布局的价值:
防止抢注:避免他人注册相似商标,混淆市场认知
业务扩展:为未来业务扩展预留商标空间
品牌价值:全面提升品牌资产价值和法律保护强度
随着近年来商标被抢注、被山寨现象的屡次发生,越来越多的企业开始重视起了对商标的保护。现代企业对商标需求越来越大,仅有一两件商标难以满足市场竞争的需求。

商标的作用已经进化,不同商标有不同使用意图和市场作用,商标已经成为营销利器和竞争的武器。企业必须有敏锐的商标意识,发现商标的不同作用,了解商标保护规律,合理规划和布局商标。
结语
从赵一鸣零食的商标布局案例中,我们可以看到:科学的商标战略不仅是法律保护手段,更是市场竞争的重要武器。在品牌发展初期就做好商标布局规划,能够为企业节省大量后期维权成本,为品牌发展保驾护航。
江西华谊知识产权代理有限公司建议广大企业:品牌发展,商标先行。建立专业的商标保护体系,是企业从初创到壮大的必经之路。让我们帮助您构建完善的商标保护体系,为您的品牌发展保驾护航。



