家电巨头“省电”商标集体折戟,商标注册红线不可触碰!互联网
近日,美的、格力、奥克斯、小米等多家知名家电企业申请注册的“省电”系列商标接连被驳回,这一现象引发行业广泛关注。江西华谊知识产权代理有限公司为您深度解析商标注册中的核心风险点。
一、案例回顾:头部企业“省电”商标集体遇阻
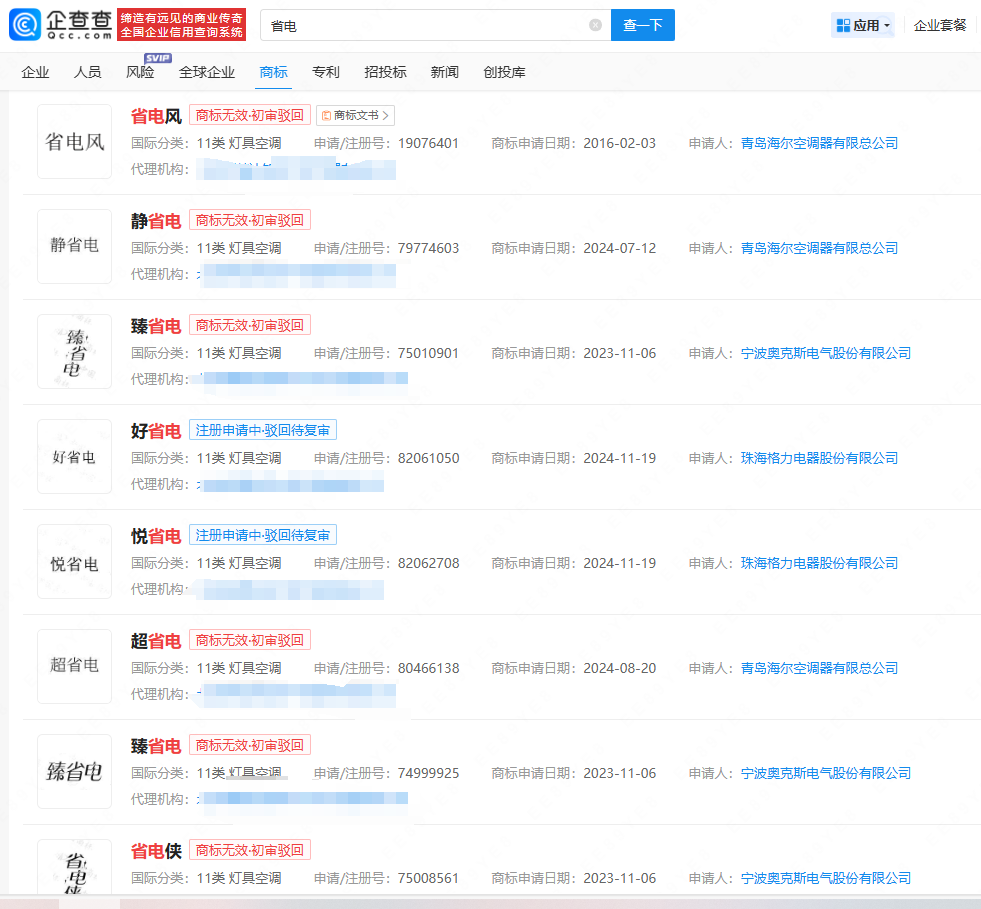
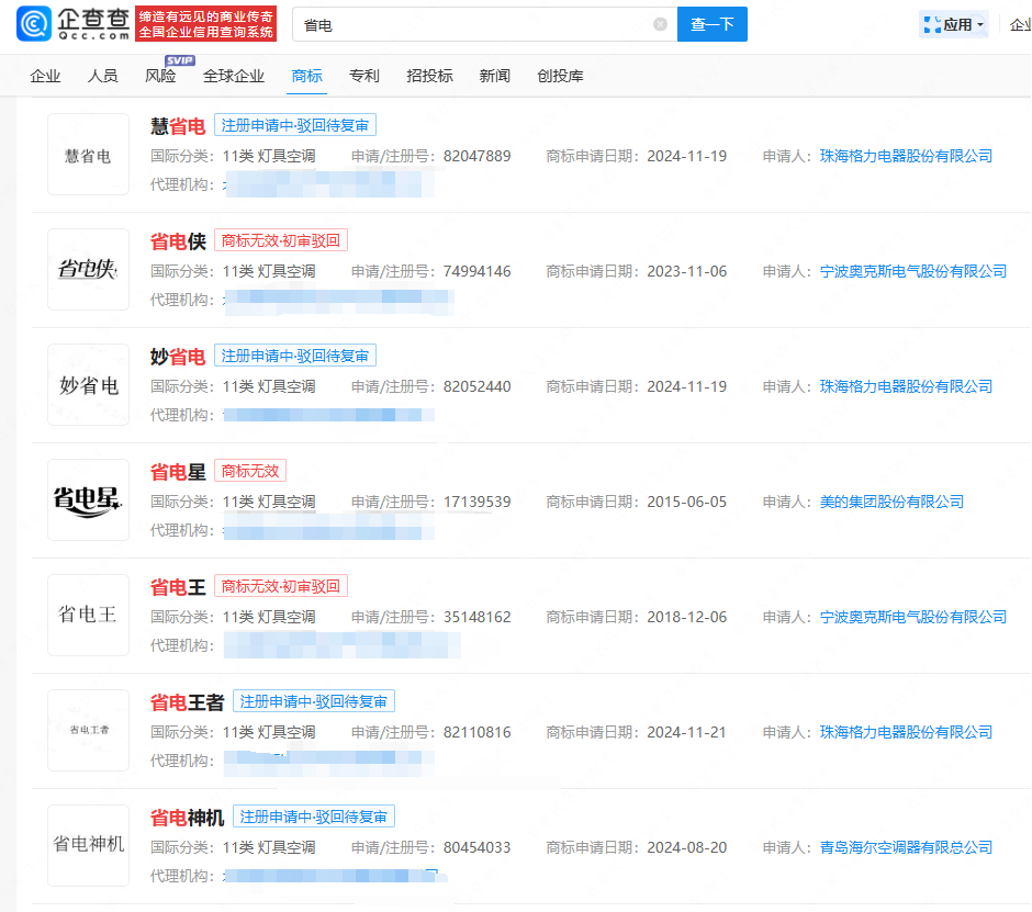
在竞争激烈的家电市场,“省电”无疑是一个极具吸引力的卖点。美的、格力、奥克斯、小米等一众行业头部企业,纷纷布局“省电”相关商标:美的申请“酷省电”、格力申请“好省电”“悦省电”、奥克斯申请“臻省电”,小米申请的“巨省电”商标更是作为空调系列名称在市场推广中引发广泛关注。

然而,上述商标的状态大多数为“无效”“驳回待复审”,无一成功注册。小米的“巨省电”商标不仅注册受阻,还因产品名称与实际性能的质疑在社交媒体上引发争议,公司高管不得不公开回应以澄清事实。

二、法律解析:为什么“省电”商标注册不了?
《商标法》第十一条明确规定:仅直接表示商品功能、用途的标志不得作为商标注册。在家电领域,“省电”是各类电器产品努力追求的通用功能,从空调到冰箱,几乎所有家电都在朝着节能省电的方向发展。
核心问题在于:如果商品的性能、功能等信息与实际不符,导致消费者对产品本质产生误解并影响购买决策,可能会构成“虚假宣传”。商标局在审查时,会严格判断商标是否具有“显著性”,以及是否涉及对商品功能的夸大描述。

三、企业启示:商标注册需规避功能性词汇
这一系列商标驳回事件为各企业敲响了警钟。企业在申请商标时应当注意:
1.避免使用直接描述商品功能的词汇:如“省电”“节能”“高效”等词汇很难通过审查
2.注重商标的“显著性”:商标应当具有识别商品来源的特征,而非单纯描述商品功能
3.平衡营销宣传与法律合规:可以对产品优势进行适度“艺术性表达”,但绝不能夸大其词
江西华谊知识产权代理有限公司建议:企业在进行商标布局前,应当进行专业的商标检索和风险评估,避免投入大量宣传资源后却面临商标被驳回的尴尬局面。商标注册是专业性强、要求严格的法律程序,选择专业的知识产权代理机构至关重要。
本文原文链接:http://news.rw2015.com/hulianwang/13811.html




